توضیحات
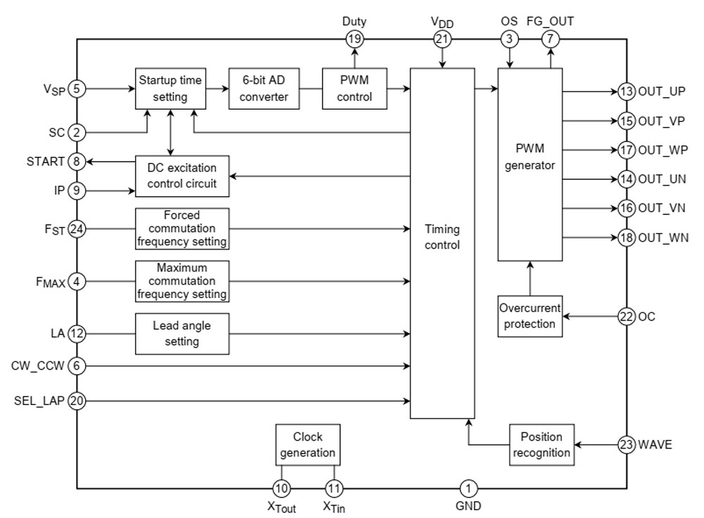
خرید TB6575FNG برند TOSHIBA، یک کنترلر موتور براشلس سهفاز (BLDC) با قابلیت PWM Chopper و تشخیص موقعیت بدون سنسور که برای کنترل دقیق سرعت، راهاندازی نرم و بهینهسازی مصرف انرژی در موتورهای سهفاز طراحی شده و مناسب کاربردهای صنعتی و تعمیرات بردهای الکترونیکی است.
مشخصات فنی آی سی TB6575FNG
• نوع آیسی: کنترلر BLDC سهفاز سنسورلس
• ولتاژ منبع تغذیه: 4.5V تا 5.5V
• جریان نامی خروجی: 20mA در هر پایه PWM
• توان تلفاتی: 780mW
• فرکانس نوسانساز خارجی: 2MHz تا 8MHz
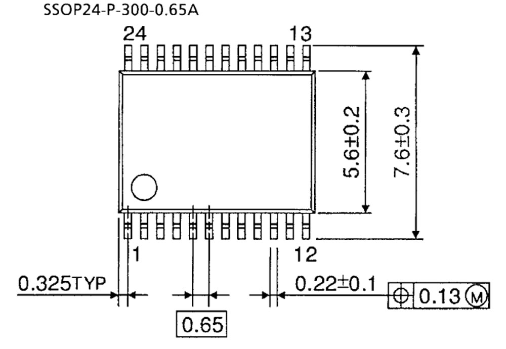
• پکیج: SSOP-24
• دمای کاری: از 30- تا 105+ درجه سانتیگراد
• وزن : 0.14g
• برند: Toshiba
کاربردهای آی سی TB6575FNG
• درایو موتورهای براشلس سهفاز
• فنهای صنعتی و خنککننده
• سیستمهای تهویه مطبوع
• اتوماسیون صنعتی
• کنترل سرعت موتورهای الکتریکی












دیدگاهها
هیچ دیدگاهی برای این محصول نوشته نشده است.